当前位置: 主页 >通信/计算 > 资讯 >

网易考拉海购起诉中消协等侵犯名誉权 法院已受理

6月22日下午消息,据海淀法院公告,因不满网易考拉海购销售的商品被认定为假冒商品,杭州优卖网络科技有限公司及网易环球购有限公司将中国

发布时间:2018-06-22

荷兰芯片制造商推指纹卡 望取代传统银行卡

据英国《每日邮报》6月21日报道,荷兰芯片制造商金雅拓(Gemalto)推出了生物识别借记卡,可能会取代传统银行卡。新卡采用与苹果Touch ID类

发布时间:2018-06-22

年轻的南非人正在制造“下一代”社交媒体应用

超越Elon Musk,这个短语是被用来形容未来的南非科技亿万富翁——杰西·卡萨诺瓦(Jesse Casanova)的。据外媒消息称,25岁的卡萨诺瓦其下

发布时间:2018-06-22

福布斯:2018中国50家最具创新力企业榜单

日前,《福布斯中国》发布2018年中国50家最具创新力企业全榜单,该榜单以零售、物流、大文娱、在线教育、云计算、消费机器人、智能家居、AI

发布时间:2018-06-22

夏威夷火山喷发的熔岩 正在地底飞速流动扩散

据英国《每日邮报》6月21日报道, 自夏威夷基拉韦厄火山喷发以来,科学家已对夏威夷火山展开严密监控。视频资料在夏威夷岛上捕捉到大量熔

发布时间:2018-06-22

特斯拉更新手机端app:增加限速功能

据英国《每日邮报》6月22日报道称,特斯拉更新移动应用软件,拥有最近更新的移动应用程序(3 4 1版本)的特斯拉车主可使用该车辆限速功能。特

发布时间:2018-06-22

饿了么蜂鸟融入阿里新零售 智能调度拓展至2000市县

饿了么正全面融入阿里新零售,蜂鸟(配送)即将一飞冲天。6月22日,饿了么在阿里巴巴西溪园区召开蜂鸟配送全国代理商大会。大会上,饿了么CEO

发布时间:2018-06-22

为什么个税起征点只能调整到5000元

2011年调整个税的时候,财政部对起征点做过一次调研,5000元是呼声最高的,但最后落到细则的时候,还是压到了3500。是3500还是5000,个税起

发布时间:2018-06-22

向中国学习 新加坡正推动移动支付 欲实现无...

与中国一样,新加坡也在推动人们接受移动支付。日前外媒报道称,该市承诺,到2025年将减少自动取款机上的现金提款,并逐步取消纸质支票。在

发布时间:2018-06-22

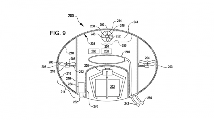
亚马逊申请泡泡状货运无人机专利:爪子类似娃娃机

美国专利和商标局近期公布的亚马逊专利显示,这家电商巨头介绍了一种专门为仓库设计的新型无人机系统。同消费者熟悉的四轴无人机不同,亚马

发布时间:2018-06-22